Регламент государственной услуги «Прием документов и зачисление в организации образования, независимо от ведомственной подчиненности для обучения по общеобразовательным программам начального, основного среднего, общего среднего образования»
Об утверждении регламентов государственных услуг в сфере среднего образования
Постановление акимата Жамбылской области от 3 июня 2015 года № 124. Зарегистрировано Департаментом юстиции Жамбылской области 3 июля 2015 года № 2689.
Примечание РЦПИ.
В тексте
документа сохранена пунктуация и орфография оригинала.
В соответствии с Законом Республики Казахстан от 15 апреля 2013 года "О государственных услугах" и Законом Республики Казахстан от 23 января 2001 года "О местном государственном управлении и самоуправлении в Республике Казахстан" акимат Жамбылской области ПОСТАНОВЛЯЕТ:
1) регламент государственной услуги "Прием документов и зачисление в организации образования, независимо от ведомственной подчиненности, для обучения по общеобразовательным программам начального, основного среднего, общего среднего образования";
2) регламент государственной услуги "Выдача разрешения на обучение в форме экстерната в организациях основного среднего, общего среднего образования";
3) регламент государственной услуги "Выдача дубликатов документов об основном среднем, общем среднем образовании".
2. Коммунальному государственному учреждению "Управление образования акимата Жамбылской области" в установленном законодательством порядке обеспечить:
1) государственную регистрацию настоящего постановления в органах юстиции;
2) в течение десяти календарных дней после государственной регистрации настоящего постановления его направление на официальное опубликование в периодических печатных изданиях и в информационно-правовой системе "Әділет";
3) размещение настоящего постановления на интернет-ресурсе акимата Жамбылской области.
1) подпункты 2) и 3) пункта 1 постановления акимата Жамбылской области от 19 июня 2014 года № 175 "Об утверждении регламентов государственных услуг, оказываемых местными исполнительными органами в сфере дошкольного и среднего образования" (зарегистрировано в Реестре государственной регистрации нормативных правовых актов №2282, опубликовано в газете "Знамя труда" от 2 августа 2014 года № 83 (17956);
2) подпункт 2) пункта 1 постановления акимата Жамбылской области от 16 июля 2014 года № 199 "Об утверждении регламентов государственных услуг в сфере дошкольного и среднего образования" (зарегистрировано в Реестре государственной регистрации нормативных правовых актов № 2304, опубликовано в газете "Знамя труда" от 9 сентября 2014 года № 98 (17971).
4. Контроль за исполнением настоящего постановления возложить на заместителя акима области Е. Манжуова.
5. Настоящее постановление вступает в силу со дня государственной регистрации в органах юстиции и вводится в действие по истечении десяти календарных дней после дня его первого официального опубликования.
|
Аким области |
К. Кокрекбаев |
|
|
|
Утвержден постановлением |
|
Регламент государственной услуги
1. Государственная услуга "Прием документов и зачисление в организации образования, независимо от ведомственной подчиненности для обучения по общеобразовательным программам начального, основного среднего, общего среднего образования" (далее – государственная услуга) оказывается организациями начального, основного среднего и общего среднего образования Жамбылской области (далее - услугодатель) в соотвествии со стандартом государственной услуги "Прием документов и зачисление в организации образования, независимо от ведомственной подчиненности для обучения по общеобразовательным программам начального, основного среднего, общего среднего образования" (далее – стандарт) утвержденным приказом Министра образования и науки Республики Казахстан от 8 апреля 2015 года № 179 "Об утверждении стандартов государственных услуг в сфере среднего образования, оказываемых местными исполнительными органами" (зарегистрирован в Реестре государственной регистрации нормативных правовых актов от 15 мая 2015 года № 11057).
Прием заявлений и выдача результатов оказания государственной услуги осуществляется через:
2) веб-портал "электронного правительства": www.e.gov.kz (далее – портал).
2. Форма оказания государственной услуги: электронная, бумажная.
3. Результат оказания государственной услуги выдача расписки о приеме документов и издание приказа о зачислении в организацию среднего образования (начального, основного среднего, общего среднего) на начало учебного года.
Форма предоставления результата оказания государственной услуги: электронная или бумажная.
При обращении к услугодателю за результатом оказания государственной услуги на бумажном носителе результат оформляется на бумажном носителе.
При обращении через портал в "личный кабинет" услугополучателя приходит уведомление о зачислении в организацию образования в форме электронного документа, подписанного электронной цифровой подписью (далее – ЭЦП) уполномоченного лица услугодателя.
Сноска. Пункт 3 – в редакции постановления
акимата Жамбылской области от 24.05.2018 № 97 (вводится в действие по истечении десяти
календарных дней после дня его первого официального опубликования).
4. Основанием для начала процедуры (действия) по оказанию государственной услуги является заявление и документы услугополучателя, необходимые для оказания государственной услуги (далее - документы), указанные в пункте 9 стандарта.
5. Содержание каждой процедуры (действия), входящей в состав процесса оказания государственной услуги, длительность его выполнения:
1) прием, регистрация документов услугополучателя и выдача расписки о приеме дубликатов – не более 15 минут;
в случае установления недостоверности документов, представленных услугополучателем для получения государственной услуги, и (или) данных (сведений), содержащихся в них, услугодатель отказывает в оказании государственной услуги;
2) рассмотрение документов услугополучателя, и направление для исполнения – не более 1 рабочего дня;
3) рассмотрение документов услугополучателя на соответствие предъявленным требованиям и подготовка результата государственной услуги - в течение 3 рабочих дней;
4) подписание руководителем услугодателя результата государственной услуги – не более 1 дня;
5) выдача услугополучателю результата государственной услуги – не более 15 минут.
Для зачисления в организацию образования начального, основного среднего, общего среднего образования:
на очную и вечернюю форму обучения – не позднее 30 августа;
в первый класс – с 1 июня по 30 августа.
Сноска. Пункт 5 с изменениями внесенными
постановлением акимата Жамбылской области от 24.05.2018 № 97 (вводится в действие по истечении десяти календарных дней после дня его
первого официального опубликования).
6. Результат процедуры (действия) по оказанию государственной услуги, который служит основанием для начала выполнения следующей процедуры (действия):
1) расписка о приеме документов;
2) резолюция руководителя услугодателя;
3) проект результата государственной услуги;
4) результат государственной услуги;
5) выдача результата государственной услуги.
7. Перечень структурных подразделений (работников) услугодателя, которые участвуют в процессе оказания государственной услуги:
1) работник канцелярии услугодателя;
2) ответственный исполнитель услугодателя;
8. Описание последовательности процедур (действий) между структурными подразделениями (работниками) с указанием длительности каждой процедуры (действия):
1) работник канцелярии услугодателя с момента поступления заявления регистрирует и передает документы на рассмотрение руководителю услугодателя (в течение 15 минут).
При сдаче документов для оказания государственной услуги услугополучателю выдается расписка о приеме документов по форме, согласно приложению 2 к стандарту.
При обращении через портал услугополучателю в "личный кабинет" направляется уведомление – отчет о принятии запроса для оказания государственной услуги в форме электронного документа, удостоверенного электронной цифровой подписью.
В случае установления недостоверности документов, представленных услугополучателем для получения государственной услуги, и (или) данных (сведений), содержащихся в них услугодатель отказывает в оказании государственной услуги;
2) руководитель услугодателя рассматривает заявление услугополучателя и направляет их ответственному исполнителю услугодателя для исполнения (в течение 1 рабочего дня);
3) ответственный исполнитель услугодателя оформляет и направляет результат государственной услуги на подписание (в течение 3 рабочих дней);
4) руководитель услугодателя подписывает и направляет результат государственной услуги работнику канцелярии услугодателя для выдачи услугополучателю (в течение 1 рабочего дня);
5) работник канцелярии услугодателя выдает услугополучателю результат государственной услуги (не более 15 минут).
Сноска. Пункт 8 с изменениями внесенными
постановлением акимата Жамбылской области от 24.05.2018 № 97 (вводится в действие по истечении десяти календарных дней после дня его
первого официального опубликования).
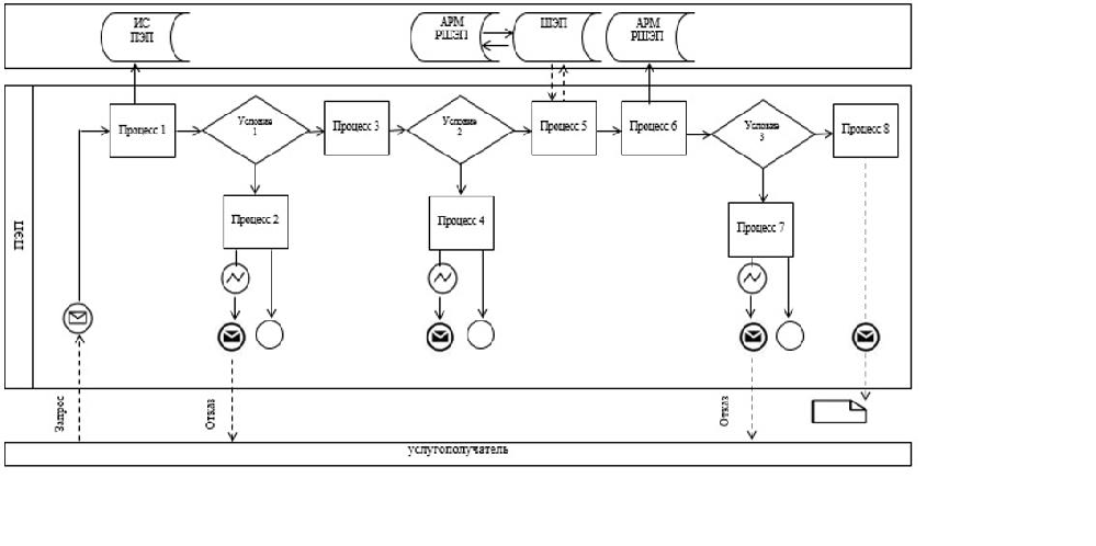
9. Описание порядка обращения и последовательности процедур (действий) услугодателя и услугополучателя при оказании государственной услуги через веб-портал "электронного правительства" с приложением диаграммы функционального взаимодействия информационных систем, задействованных в оказании государственной услуги, в графической форме согласно приложению 1 к настоящему регламенту:
1) услугополучатель осуществляет регистрацию на портале с помощью своего регистрационного свидетельства электронной цифровой подписи, которое хранится в интернет-браузере компьютера услугополучателя;
2) процесс 1 – прикрепление в интернет-браузер компьютера услугополучателя регистрационного свидетельства электронной цифровой подписи, процесс ввода услугополучателем пароля на портал для оказания государственной услуги;
3) условие 1 – проверка на портал подлинности данных о зарегистрированном получателе через логин (индивидуальный идентификационный номер) и пароль;
4) процесс 2 – формирование порталом сообщения об отказе в авторизации в связи с имеющимися нарушениями в данных услугополучателя;
5) процесс 3 – выбор услугополучателем государственной услуги на портале, указанной в настоящем регламенте государственной услуги, вывод на экран формы запроса для оказания государственной услуги и заполнение услугополучателем формы (ввод данных) с учетом ее структуры и форматных требований, прикреплением к форме запроса необходимых документов в электронном виде;
6) процесс 4 - выбор услугополучателем регистрационного свидетельства электронной цифровой подписи для удостоверения (подписания) запроса;
7) условие 2 – проверка на портал срока действия регистрационного свидетельства электронной цифровой подписи и отсутствия в списке отозванных (аннулированных) регистрационных свидетельств, а также соответствия идентификационных данных между индивидуальным идентификационным номером, указанным в запросе, и индивидуальным идентификационным номером указанным в регистрационном свидетельстве электронной цифровой подписи;
8) процесс 5 – формирование сообщения об отказе в оказании государственной услуги в связи с неподтверждением подлинности электронной цифровой подписи услугополучателя;
9) процесс 6 – регистрация электронного документа в автоматизированном рабочем месте регионального шлюза "электронного правительства";
10) условие 3 – проверка (обработка) услугодателем на соответствие приложенных услугополучателем документов, указанных в пункте 9 стандарта и основания для оказания государственной услуги;
11) процесс 7 – формирование сообщения об отказе в запрашиваемой государственной услуге, в связи с имеющимися нарушениями в документах услугополучателя;
12) процесс 8 – получение услугополучателем результата государственной услуги (справки в форме электронного документа), сформированного в автоматизированном рабочем месте регионального шлюза "электронного правительства". Электронный документ формируется с использованием электронной цифровой подписи уполномоченного лица услугодателя.
10. Подробное описание последовательности процедур (действий), взаимодействий структурных подразделений (работников) услугодателя в процессе оказания государственной услуги и порядка использования информационных систем в процессе оказания государственной услуги отражается в справочнике бизнес-процессов оказания государственной услуги согласно приложению 2 к настоящему регламенту. Справочник бизнес-процессов оказания государственной услуги размещается на веб-портале "электронного правительства" - www.e.gov.kz, интернет–ресурсе услугодателя.
|
|
Приложение 1 к регламенту |
Таблица. Условные обозначения:
|
|
Приложение 2 к регламенту |
Справочник бизнес-процессов оказания государственной услуги



